Utviklet av Norconsult Digital

HÅNDBOK - MEKANISKE KONSTRUKSJONER I VANNVEIEN: ELEKTRISK UTRUSTNING FOR KRAFTVERKSLUKER

1 Innledning

Forfatter: Ragnar Hartmann, Statkraft Engineering as 31.10.95

Dette manuskript er betalt av Energiforsyningens Fellesorganisasjon (EnFO) og kan fritt benyttes ved alle EnFOs nåværende og fremtidige kurs. Bruk til andre formål, omarbeidelser eller videre bearbeiding, krever forfatters godkjennelse. Statkraft Engineerings eventuelle bruk av manuskriptet skal ikke skje slik at dette kommer i konkurranse med EnFOs virksomhet. Privatpersoner har anledning til å ta enkeltkopier når formålet er egen opplæring. Ved kopiering ut over dette for andre enn EnFo, Statkraft Engineering eller forfatter, må tillatelse på forhånd være innhentet fra EnFO. Manuskriptet tillates ikke benyttet som referanse i spørsmål gjeldende sikkerhet eller når resultatet kan medføre betydelig økonomisk konsekvens.

2 Hensikt og målsetting

Manuskriptet er laget i tilknytning til et kurs om luker, ventiler, rør samt varegrinder og søker å belyse enkelte praktiske forhold ifm. den elektriske utrustningen for kraftverksluker.

Målgruppen er personell ved vannverk og i kraftforsyning. Manuskriptet sikter imidlertid spesielt mot personell uten elektroteknisk faglig bakgrunn hvor enklere kunnskap om elektriske systemer kan komme til nytte. Det understrekes imidlertid sterkt at det ved alt praktisk arbeid i elektriske systemer med spenning 230 V AC eller 220 V DC, kreves spesielle faglige kvalifikasjoner av den som skal utfører dette. Slike kvalifikasjoner får man selvsagt ikke gjennom dette manuskript.

3 Generelt

For et lukemanøvreringssystem kan den elektriske utrustningen inndeles i minst seks ulike grupper med hver sine funksjoner:

  • Strømtilførsel.

  • Motorer.

  • Styresystemer.

  • Systemer for vern.

  • Oppvarmingssystemer.

  • Lysanlegg.

De to sistnevnte gruppene vil i det etterfølgende ikke bli omtalt. Oppvarmingssystemer for lukeanlegg skal imidlertid behandles i manuskriptet: “Hjelpeutstyr for luker”.

4 Strømtilførsel

Strømtilførselen kan være permanent eller provisorisk. I det siste tilfellet benyttes aggregat drevet med bensin- eller dieselmotor.

Større elektriske motorer for drift av lukespill, hydraulikkpumper, etc. anvender som regel 230 V, 3-faset vekselstrøm. Høyere spenning forekommer også.

For styresystemer og nødsystemer kan det være et krav at de skal fungere selv om ordinær strømtilførsel svikter. Da er det aktuelt med likestrømsmating fra akkumulatorer eller nødstrømsaggregater. For likestrømsystemer som omfatter motorer, blir det aktuelt å benytte 220 V DC. Forøvrig anvendes 48 V DC, 24 V DC og i spesialtilfeller 12 V DC.

Strømtilførselen til motorer må alltid være slik at motoren får den tilsiktede rotasjonsretning. Det er eksempel på nestenulykke hvor det kunne gått menneskeliv fordi et lukespill ble tilkoplet vekselstrøm med feil faseretning. Har man således mobile aggregater som anvendes på ulike steder og for ulike formål, bør det være en “standard” for alle tilslutningskontakter og kabler slik at faseretningsfeil unngås. Tallet på pumper og annen utrustning som gjennom årene har havarert på grunn av feil ved faseretningen, forbigås i stillhet.

Er et mobilt aggregat benyttet for spesielt formål som anleggsarbeid, etc., kan det for brukeren ha vært nødvendig å utføre improviserte elektriske koplinger for at han i det hele tatt skulle kunne være i stand til å benytte aggregatet. I slike tilfeller er det spesielt viktig at faseretningen på utgående kontakt har blitt kontrollert før aggregatet på nytt skal anvendes ved eksempelvis manøvrering av luke. Av nevnte grunn har enkelte også installert to ulike uttak på strømaggregatene sine. Det ene uttaket har “standardkopling”. Denne skal det aldri tukles med. Den andre koplingen er montert med tanke på tilfeller hvor “spesialtilslutning” må etableres.

I tilfeller med høy kritikalitet ved faseretningsfeil, bør det på de aktuelle utstyr installeres faseretningsvern.

5 Motorer

I energisystemet står de elektriske motorene sentralt. Mest brukt ved små motorinstallasjoner er 3-fase kortslutningsmotorer. 3-fase sleperingsmotorer kommer til anvendelse når det er snakk om større motorer hvor det kan være krav til høyt dreiemoment ved lavt turtall. Typiske momentkurver for de to motortypene fremgår av Figur 1.

Figur 1: Momentkurver for sleperingsmotorer og kortslutningsmotorer.

Med tanke på driftssikkerhet og vedlikehold kan kortslutningsmotorer være å foretrekke. 3-fase sleperingsmotorer er også driftssikre, men sleperinger og børster krever jevnlig ettersyn.

Mens 3-fase-motorer har funksjon som “hovedmotor”, kan likestrømsmotorer av sikkerhetshensyn komme til anvendelse som “reservemotor”. Likeretter og batteri utgjør da “reserveforsyningen” om vekselspenningen skulle forsvinne. En likestrømsmotor er imidlertid mer problematisk og krever mer oppmerksomhet enn det det er nødvendig å vie en 3-fase-motor. Likestrømsmotorens svake punkt blir børster og kommutator. Står en likestrømsmotor ubrukt over lang tid i fuktig miljø, bør man ikke være alt for sikker på at den starter når dette er påkrevet.

Større likestrømsmotorer blir vanligvis innkoplet med startmotstand i strømkretsen. En tidsstyrt bryter bortkopler siden startmotstanden.

Vanlig driftspunkt for en 3-fase-motor gir ca. 50% dreiemoment referert til maksimalmomentet. Sakking i forhold til synkront omløpstall er noen få prosent. Hva som skjer ved blokkering av en luke, avhenger av fire forhold: Momentkurvens form, motorens tilpassing til det aktuelle utstyr, elastisiteten i lukeopptrekket og i noen grad også manøvreringssystemets “svinghjulsenergi” når blokkeringen inntreffer. Noe av dette skal i det følgende anskueliggjøres ved et eksempel.

Figur 2: Hendelser ved blokkering av luke.

En luke er blokkert i stengt posisjon. Manøvreringsspillet blir startet for åpning av luken. Spillet har kortslutningsmotor hvor startmomentet er 60% av maksimalmomentet, se Figur 1. I tilfelle A1 er motoren dimensjonert slik at vanlig driftsmoment ligger på 50% av maksimalmomentet. For A2 er motoren overdimensjonert med driftsmoment på 25 % av maksimalmomentet. Når det gjelder opptrekket, anses dette for tilfelle B1 å være fullstendig stivt. B2 forutsetter at det er stor elastisitet i opptrekket, eksempelvis lange ståltau. For de 4 tilfellene illustreres hendelsene ifm. innkopling av spillet for oppkjøring av luken ved tabellfremstillingen i Figur 2.

Det må ellers påpekes at kraftøkningen i opptrekket blir større enn det forholdet mellom motormomentene tilsier. Disse varierer fra 1,14 til 4,0 ganger normalverdi. Avviket skyldes det forhold at friksjonen i manøvreringsspillet blir lavere ved stillstand enn det den er under drift.

Ved vurderingen av et manøvreringsutstyr er det viktig å være klar over de forhold som opptrer ved lukeblokkering. For valg av motorer til mekaniske lukespill hvor driftstiden er kort, kan det muligens være riktig at disse i en viss grad underdimensjoneres. Motorene må dog ha et startmoment som sikrer oppstartingen. Et annet forhold er at alle mekaniske spill med motordrift bør være utstyrt med lastbryter.

6 Motorer

Styresystemet som inngår i den elektriske utrustningen, kan bestå av ulike komponenter. Ofte er disse plassert i spesielle styreskap. For drift og vedlikehold er det viktig at dette er gjort på en måte som gjør det greit å finne frem til den enkelte komponent og den enkelte elektriske forbindelse.

Merking blir i denne sammenheng et stikkord. Det bør være en selvfølge at komponentmerkingen for utstyrets del er identisk med det som angis i de elektriske skjemaer. Ledere bør på sin side være merket med aktuelt klemmenummer i endene samt ha en ledermerking slik at det blir enkelt å følge lederen til det sted den ender. Bestemmelser om slik merking er å finne i dokumentene NEK 321 og NEK 322.

Av sentrale komponenter er kontaktorer som kopler strøm til motorer. En kontaktor kan beskrives som: “Fjernstyrt bryter som holdes innkoplet av elektromagneter”.

Bestemmende for kontaktorens levetid blir elektrisk belastningen hvis kopling skjer ved nominell strømstyrke. Det hevdes at en kontaktor da bør kunne greie 1 million koplinger.

Overdimensjoneres kontaktoren ift. strømstyrken ved kopling, øker levetiden. For en rikelig dimensjonert kontaktor kan dobling av foran angitte levetid påregnes.

En vesentlig reduksjon av kontaktorens levetid får man hvis strømmen brytes ved blokkert motor. Strømstyrken er da 6 - 8 ganger større enn strømstyrken ved full-last. En kopling under slike forhold kan i levetidssammenheng tilsvare mer enn 1000 normale koplinger.

Foruten kontaktorer kan styresystemene bestå av releer, grensebrytere, etc. Moderne releer er kapslede elektriske komponenter som vanligvis arbeider med små strømstyrker og som anses å ha høy pålitelighet. T. Røyter og J. Langeland gir i boken “Elektriske anlegg 1” følgende definisjon for rele: “Et hjelpeorgan som mottar og overfører en melding som har sin årsak i elektriske impulser av en eller annen art”.

I noen tilfeller blir relefunksjoner også utført av små hjelpekontaktorer. Disse er i motsetning til releene ikke kapslet og blir ansett som mer utsatt for forurensning i smutsig miljø. Det hevdes imidlertid at kontaktorene med sin større sjalteenergi er robuste og at dette i fuktig miljø blir fordelaktig. Problemer som oppstår for mindre elektriske komponenter på grunn av høy luftfuktighet, kan imidlertid forebygges ved påbygging av varmeelement hvis det på anleggsstedet er permanent strømtilførsel.

Grensebryteren gir vanligvis informasjon til styresystemet om lukestilling etc. Et annet element med lignende funksjon er pressostaten i et oljehydraulisk anlegg. Grensebrytere og pressostater vil vanligvis ha lang levetid, men følsomheten for fuktighet kan være betydelig og innvirker negativt hvis det ikke er mulig å anvende varmeelement. Enkelte typer må under slike forhold karakteriseres som uegnet. Opplysninger fra leverandører kan i denne sammenheng være misvisende. Alle grensebrytere og pressostater bør testes minst en gang i året.

I løpet av 80-årene vant programmerbare elektroniske styringer, PLS, innpass. Betegnelsen er forkortelse for “programmerbar logisk styring”. Betydelig ømfintlighet for overspenning som eksempelvis kan oppstå ifm. tordenvær, er imidlertid tilstede. Dels av denne årsak har enkeltpersoner betydelige motforestillinger mot PLS. Det må likevel understrekes at det finnes effektiv oppskrift på hvordan man skal beskytte følsomme systemer mot “naturens egen elektrisitetsforsyning”.

Primær fordel med PLS er de nærmest ubegrensede muligheter som systemene tillater med tanke på å etablere styrefunksjoner. Et annet “pre” er at man i utgangspunktet også skal kunne korrigere systemfeil eller lage supplerende funksjoner ved omprogrammering på stedet. Det vanlige er således nå at PLS programmeres med Windows-basert PC.

Som ulempe kommer tendensen til at hver leverandør har sitt system. På sikt kan mangfoldet gjøre det problematisk å besitte kompetanse for vedlikehold av alle systemer. Et moment er også at det i mange tilfeller overleveres mangelfull dokumentasjon for aktuelle programvare. Dette medfører at brukeren siden kan ha vanskelig for å vedlikeholde og oppdatere eller utvide systemet. Viljen til å gi fra seg en komplett softwear-dokumentasjon synes å variere fra leverandør til leverandør.

Hovedregelen er imidlertid for PLS som for alle andre systemer, både elektriske og mekaniske. Det man ønsker som dokumentasjon, bør avtalefestes ifm. med anskaffelse slik at utbetalinger kan gjøres avhengig, ikke bare av at utstyr blir levert i avtalt stand til avtalt tid, men at dette også omfatter dokumentasjonen. Elementer som kan inngå i PLS- dokumentasjon er:

  • “Process Control Diagrams” som vha. funksjonsblokkprogrammer viser logiske funksjoner og forbindelser som inngår for å realisere den spesifiserte oppgave.

  • Identifikasjon av alle inn- og utganger iht. klemlist-/rekkeklemme-nummerering.

  • Identifikasjon av krafttilførsel (230 V AC, 220 V DC, 24 V DC, osv.).

  • Programutskrift, både papirbasert og på diskett.

  • Programmeringsapparat (PC-basert).

  • Dokumentasjon/instruksjon/opplæring for å kunne utføre omprogrammeringer og modifikasjoner,

7 Vern

Motorer og elektrisk styresystem må utstyres med vern som hindrer større skade på dette utstyr ved feil. Elektriske vern kan i tillegg installeres for å hindre skade på mekanisk utstyr. Et eksempel på dette er faseretningsvern. For.de elektriske vern har man komponenter som sikringer, faseretningsvern, motorvern, grensebrytere, lastbrytere, pressostater, releer, o.l.

Den vanligste komponent med funksjon tilknyttet vernene er sikringen. Generelt beskytter sikringer mot overstrøm. “Normale” sikringer og “trege” sikringer er i denne forbindelse vanlige sikringstyper. Betegnelsene “normal” og “treg” refererer til den tid det tar med en viss overstrøm før strømmen brytes. Som eksempel gjengis smeltekurver for 20 A sikringer i Figur 3. Dataene er hentet fra J. Sandberg: Elektroteknikk, bind II.

“Normale” sikringer anvendes vanligvis i kurser for styrestrøm, lys og varme. Ved oppstarting av en elektromotor kan imidlertid strømstyrken bli mer enn 5 ganger vanlig driftstrøm. Av denne grunn må “trege” sikringer anvendes i en motorkurs. Vanlig er også seksjonering av systemer. Ved feil blir kravet at sikringen nærmest feilen skal utløse uten at foranstående sikring gjør det samme. Dette forutsetter planmessig bruk av sikringer med ulik “følsomhet”.

Figur 3: Smeltekurver for 20 A sikring.

Fordi en sikring som tåler motorens startstrøm ikke kan beskytte motoren mot overbelastning ved drift, installeres det motorvern. I prinsipp kan motorvernet bestå av termiske bimetallreleer som installeres på alle tre motorfaser og som ved aktivering bryter styrestrømmen. Gjennom dette mister motorkontaktorens magnetspole sin holdestrøm slik at motorkontaktoren utløser og bryter motorstrømmen, se også Figur 4 eller Figur 5.

Det kan videre nevnes at et normalt motorvern ikke reagerer på 5% strømoverskridelse, ved 20% overskridelse utløser vernet i løpet av en time og ved 50% overskridelse skjer utløsningen forholdsvis raskt. Større motorvernbrytere kan i tillegg til de termiske releene også ha momentan elektromagnetisk overstrømsbeskyttelse og/eller utløsning ved underspenning.

Motorvernet kan imidlertid ikke erstatte sikringene i motorkursen. Dette skyldes at motorvernet skal bryte motorstrømmen vha. motorens kontaktor. Denne er vanligvis ikke er dimensjonert for å bryte en kortslutningsstrøm.

Et spesielt forhold det kan være grunn til å nevne, er-at enkelte leverandører av styreutrustninger har ønsket å la en PLS ta seg av ulike funksjoner, både styrefunksjoner og vern. Undertegnede er motstander av dette. I spesielle situasjoner kan det være aktuelt å manøvrere en luke uavhengig av den normale styringen hvor PLS inngår. Da kan det bli av betydning at man ikke samtidig mister viktige vern.

8 Elektriske skjemaer

Større oversiktsskjemaer utføres ofte som enlinjeskjema. Hensikten med dette skjema blir primært å vise hvordan en elektrisk krets virker. Et eksempel på et enlinjeskjema fremgår av Figur 4. Dette viser en motorkrets med to motorer, kontaktorer, motorvern, sikringer, etc.

Figur 4: Eksempel på enlinjeskjema.

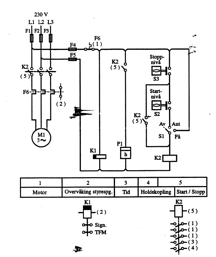
Mer praktisk for bruk ved montasjearbeider er strømløpskjemaet i Figur 5. Her er det vist en enkel motorstyring med mulighet for automatisk nivåbestemt start og stopp.

Strømtilførsel til motoren ligger i strømløp 1 og er i hver fase utstyrt med motorsikring. Kontaktoren K2 kopler og bryter motorstrømmen og styres av en elektromagnet i strømløp 5. I figuren under strømløp 5 er dessuten den aktuelle kontaktor vist med samtlige kontakter. Som det fremgår har K2 en kontakt for hver av de 3 motorfasene og dessuten en kontakt for hver av styrestrømløpene 3 og 4.

Motorvernet F6 bryter om nødvendig all styrestrøm. Ved dette løser motorkontaktoren samtidig som overvåkingen i strømløp 2 gir signal, melding, om det som har skjedd.

Figur 5: Eksempel på strømløpskjema for enklere motorstyring.

Av andre detaljer som det kan knyttes bemerkning til, er at elementet P1 er motorens timeteller og at forkortelsen TFM står for “tidsfølgemelder”. Bryteren med sistnevnte betegnelse bidrar til å sikre dokumentasjon av utfall styrestrøm.

For ethvert koblingsskjema som skal brukes i forbindelse med en gitt installasjon, er det viktig med entydig og identisk merking i skjema og installasjon. Dette bør kontrolleres og eventuelt korrigeres.