Utviklet av Norconsult Digital

HÅNDBOK - MEKANISKE KONSTRUKSJONER I VANNVEIEN: LUKETETNINGER

1 Innledning

Forfatter: Ragnar Hartmann, Statkraft Engineering as 31.10.95

Dette manuskript er betalt av Energiforsyningens Fellesorganisasjon (EnFO) og kan fritt benyttes ved alle EnFOs nåværende og fremtidige kurs. Bruk til andre formål, omarbeidelser eller videre bearbeiding, krever forfatters godkjennelse. Statkraft Engineerings eventuelle bruk av manuskriptet skal ikke skje slik at dette kommer i konkurranse med EnFOs virksomhet. Privatpersoner har anledning til å ta enkeltkopier når formålet er egen opplæring. Ved kopiering ut over dette for andre enn EnFo, Statkraft Engineering eller forfatter, må tillatelse på forhånd være innhentet fra EnFO. Manuskriptet tillates ikke benyttet som referanse i spørsmål gjeldende sikkerhet eller når resultatet kan medføre betydelig økonomisk konsekvens.

2 Hensikt og målsetting

Manuskriptet er laget i tilknytning til et kurs om luker, ventiler, rør, etc. og omhandler tetninger for kraftverksluker. Ulike løsninger beskrives. Det gis tekniske data som kan være nødvendige ved fastleggelse av friksjonskrefter og til veiledning ved estimering av slitasje.

Kursets målgruppe er personell ved vannverk og i kraftforsyning. Forkunnskaper om emnet fordres ikke.

3 Referanser og terminologi

Eneste norske leverandør av luketetninger er Mehren Rubber AS. Bedriften har tilhold i Sande, Vestfold.

Litteratur om luketetninger foreligger i beskjeden grad. En forholdsvis fyldige utredning foreligger som rapport fra Vassdragsregulantenes Forening, nå EnFO. Rapporten er datert 14.12.81 og har tittel “Luketetting, nr. 15”. I tillegg kan en katalog, Wehrbauten- Dichtungen, fra det østerriske firmaet Semperit fremheves. Her dokumenteres ulike tekniske forhold.

Aktuelle betegnelser for luketetningene er bunntetning, sidetetning og topptetning. På luker montert i åpen kanal, er det selvsagt ikke aktuelt med topptetning. Sektorluker kan i tillegg til bunn- og sidetetning ved frontplaten ha tetning i bakkant ved opplagringene samt sidetetninger mellom ryggplaten og sideskjoldene.

4 Tetningssystemer

Luker fra vannkrafthistoriens første tid var som regel ikke utstyrt med spesielle tetningselementer. For treluker ga trevirkets svellende egenskaper en forholdvis god tetteeffekt. Dessuten var det vanlig å maure lukene hvis ble behov for spesiell tetthet.

For eldre konstruksjoner med “tetningslister” er eksemplene på løsninger og materialvalg mange. Metalliske lister ble fortrinnsvis laget av messing. Ofte kombinerte man da funksjonene “opplegg” og “tetning”. Vanligst var imidlertid tetningslister av tre, fortrinnsvis eik. For enkelte luker ble slike tetningslistene montert på deler av stålkonstruksjonene som lot seg deformere av vanntrykket slik at tetningslistene ble presset mot motgående flate. Slik løsning forekom eksempelvis ifm. valseluker. Fortsatt finnes det eldre konstruksjoner hvor man har beholdt opprinnelig tetningsløsning med trelister. Eikestokk montert nederst på lukeblad, er sannsynligvis en konstruksjonsdetalj som de fleste har hørt om.

I dag kreves det ofte at luker i lukket posisjon skal være helt tette. For luker som skal fungere ved lave temperaturer, blir slik tetthet spesielt viktig. Lekkasjer vil eventuelt bygges opp til isbarrierer som låser luken og blokkerer strømløpet. Absolutte tetthetskrav kan kun innfris med gummitetninger.

Om denne type tetthetskrav kan imidlertid flere synspunkter gjøres gjeldende. Det etterfølgende presenterer et utvalg.

  • Luken må være tett pga. frostproblemer.

  • Luken må være tett fordi den er revisjonsavstengning umiddelbart oppstrøms et annet stengeorgan.

  • Luken må være tett fordi lekkasje kan gi opphav til erosjon.

  • Det er ikke nødvendig å kreve tett luke når nedstrøms tunnel har stor innlekkasje.

  • Det bør ikke kreves tett luke fordi det kan være vanskelig å få dette til i tetningshjørnene.

  • Det bør ikke kreves tett luke fordi det er vanskelig å fastslå om lekkasje skyldes forhold lukeleverandøren kunne ha hatt herredømme over.

  • Det bør ikke kreves tett luke fordi byggherren har spesifisert et design som umulig kan tilfredsstille kravet.

Et spesielt forhold gjelder topptetningen for høytrykks tappeluker. I enkelte tilfeller kreves det at denne skal tette også ved delåpning. Særlig for segmentluker hvor det kan være tilleggskrav om glatt løp i sidene, er det vanskelig å få dette til. Slepende topptetning på høytrykks segmentluker som skal benyttes for tappeformål, gir dessuten ugunstige krefter i opplagringene.

Figur 1: Tetningsprofiler som benyttes for luker.

Ulike tetningsprofiler av gummi fremgår av Figur 1. Her angis også aktuelle betegnelser for disse. Både notetetninger og omegatetninger kan leveres uten det hull som er antydet. Å sløyfe hullet gjør tetningslisten stivere og mer egnet ved høyt vanntrykk, men profilet mangler da en elastisitet som kanskje kan være ønskelig for å kompensere geometriavvik, se tabell bakerst i dette manuskript.

I tillegg til et utall ulike tetningsprofiler leveres det hjørnestykker for overgang mellom ulike profiltyper. Slike overganger må ofte spesialbestilles. For moderne lukekonstruksjoner har utviklingen vært slik at man så langt det er mulig, har forsøkt å gjøre seg uavhengig av de mest kompliserte hjørnestykkene. Dette fordi det her kan bli betydelig leveringstid.

5 Gummimaterialer

Vanlig materiale i gummitetninger for kraftverksluker er kloropren. Gummitypen blir av enkelte også omtalt som “neoprene”, et produktnavn for en kloroprengummi fra Du Pont.

Figur 2: Tekniske data for naturgummi og kloropren.

Naturgummi er et gummimateriale som man kanskje kunne tenkt å anvende for luketetninger. Både ut fra pris og fasthetsegenskaper blir dette materialet fordelaktig. Tabellen i Figur 2 angir imidlertid karakteristiske egenskaper for naturgummi og kloropren. Utslagsgivende for at kloropren foretrekkes for luketetninger, er holdbarhetshensynet. Det at man ofte innsetter tetningsflatene med fett eller olje før tørrkjøring, bør i seg selv pga. naturgummiens dårlige oljebestandighet, tilsi at slik gummi ikke kan komme til anvendelse. I tillegg har kloropren også bedre vær- og ozonbestandighet.

Gummiens fasthet refereres som regel til hardhet. Denne måles med et inntrykksinstrument i overenstemmelse med ISO-norm og kan angis i Shore A eller IRH. Bestemmende for gummihardheten er i vesentlig grad materialets innhold av svovel, se manuskriptet “Materialteknikk for utstyr i kraftverksvannveien” 13 Gummi.

Data om slitasje på luketetninger fremgår av forannevnte Semperit-katalog og gjengis i Figur 3 med unntak av slitasjekurver for luketetninger med teflonbelegg. Disse har for det første langt større slitasje enn “rene” gummitetninger, dessuten er erfaringene blandede. At teflonbelegg gir lav friksjon, har mindre betydning så lenge man over tid ikke kan stole på at teflonbelegget blir sittende fast på tetningsprofilet.

Figur 3: Veiledende slitasjedata for luketetninger angitt av Semperit.

For friksjonskoeffisient mellom stål og tetningslister av gummi med og uten friksjonsreduserende belegg, antyder Damforskriftene at denne skal regnes i området 0,7 - 0,9. Dette nyanseres i DIN 19704. Her angis data fra friksjonsforsøk mellom gummi og tørr korrodert stålflate som funksjon av gummihardhet.

  • Gummi 85 °Shore A: μ=0,70

  • Gummi 70 °Shore A: μ=0,80

  • Gummi 55 °Shore A: μ=0,90

Figur 4: Friksjonskoeffisienter mellom luketetninger og rustfri stålflate.

Seperits katalog har imidlertid friksjonsdata for gummi mot rustfritt stål, tørt og vått. Her fremgår det at friksjonskoeffisienten også varierer med flatetrykket. Dette gjengis i Figur 4.

Beregning av friksjonskraft ifm. luketetninger som belastes med vanntrykk, skjer ved forenklet vurdering av kraftbalanse, se Figur 5.

Figur 5: Krefter på luketetning.

Friksjon: \[F_{frik}=\mu \cdot F_{tetn} \newline F_{frik}=\mu \cdot \gamma _f\cdot \rho\cdot g\cdot h\cdot (b_1\cdot (b_1/2)+b_2\cdot (b_2 /2))\cdot l_{tetn}/b_2 \newline F_{frik}=0,5\cdot \mu\cdot \gamma _f\cdot \rho\cdot g\cdot h\cdot ((b_1/b_2)+b_2)\cdot l_{tetn}\qquad{(1)}\]

Ffrik er friksjonskraft pr lengdeenhet ltetn. Av øvrige størrelser er: γf - lastfaktor, ρ - densitet for vann, g - gravitasjonskonstanten, h - vanntrykk.

Aktuelle anbefalinger for luketetninger blir forøvrig:

  • Generelt anvendes kloroprengummi med hårdhet 60-70 Shore A.

  • Ved lavt trykk, under 20 mVS, hvor det også er viktig med lett deformerbart profil, kan lister med hårdhet 50 Shore A og/eller hult tverrsnitt anvendes.

  • Ved vanntrykk over 40 mVS frarådes det hule tetningsprofiler.

  • Ved vanntrykk over 40 mVS tilrådes tetningslister med hårdhet 70 Shore

  • Flatlist av gummi med hårdhet 60-70 Shore A anbefales som underlag for tetningslisten når underlag er nødvendig.

6 Tekniske løsninger

Luketetningen kan bli et både komplisert og krevende element i lukekonstruksjonen. Ved konstruksjonsarbeidet er det ofte behov for både erfaring og innsikt. Samspillet mellom topp- og sidetetning samt mellom side- og bunntetning er som regel alltid viktig.

I noen tilfeller kan deformasjoner i lukebladet når dette utsettes for vanntrykk, gi opphav til lekkasje. For segmentluker har man sett eksempel på at lukebenas radielle deformasjon på grunn av både vanntrykk og temperaturendring ble over 5 mm. Dette gå opphav til lekkasje.

I de aller fleste tilfeller monteres tetningslistene på lukebladet. Det har imidlertid også forekommet at tetningen er satt på/i føringen. For dette refereres:

  • Statkrafts smålukekonstruksjon: For tining og åpning av fastfrosset luke er det behov for å ha et glatt lukeblad.

  • Tappeluke ved Svartisen kraftverk: Avstengning oppstrøms og arrangement som gjør det enkelt å tørrlegge nedstrøms, medfører at tetning montert på lukeføring kan skiftes uten at lukeblad og opptrekk demonteres.

Underlagslister av gummi benyttes for:

  • å bygge ut sidetetningene for å få egnet overgang til bunntetningen.

  • å kompensere for geometriavvik.

Er formålet å kompensere for geometriavvik, bør dette sammen med oppmålte dimensjoner fremgå av lukekonstruksjonens dokumentasjon.

Figur 6: Eksempel på overgang mellom sidetetning og bunntetning.

Å benytte vekselvis underlag av stål og gummi for samme tetningslist anbefales ikke. Slik konstruksjon kan gi opphav til lekkasje ved overgangen.

En brukbar løsning for overgangen mellom sidetetning og bunntetning er vist i Figur 6. Her ville stållist som underlag for sidetetningen vært uheldig.

Begrepet underlagslist må ikke forveksles med de lister som påsveises et lukeblad når tetningsanlegget skal maskineres fordi lukebladet under oppsveising blir skjevt. Slike lister er å anse som “maskineringsmonn”.

Tetningslister fastmonteres vha. klemlister og bolter. For boltene benyttes det samme frihull i både tetningslister og klemlister. Bolter og klemlister utføres av materialer som korrosjonsmessig er likeverdig med materialet i den øvrige lukekonstruksjon. Ved montasjen settes boltene inn med silikonfett og forspennes med momentnøkkel til spesifisert moment. Fordi gummien kan ha en viss evne til sig, anbefales det kontroll av boltenes forspenningen etter 24 timer med eventuell ettertrekking.

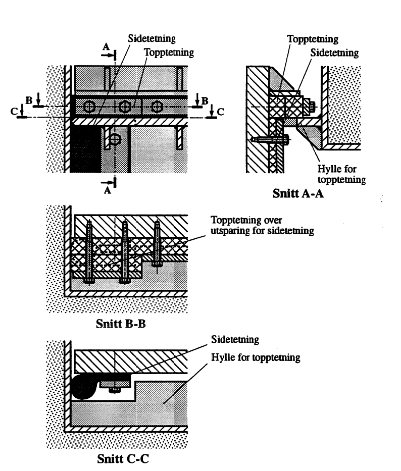
Figur 7: Hylletetning med overgang til sidetetning.

Klemlister og underlagslister bør ha sentrisk boring for festebolter, se Figur 6. I motsatt tilfelle vil tetningslisten kunne vris når boltene settes til.

Tetningsovergangen mellom sidetetning og topptetning kan være noe problematisk. Har man hylletetning som topptetning, blir overgangen som vist i Figur 7. Slik overgang er det meget gode erfaringer med. To forhold kan imidlertid bli til ulempe:

  • Hylletetningens tetningslinje ligger som regel sterkt fortsatt ift. bunntetningen. Dette kan medføre at luken i stengt stilling får en betydelig hydraulisk nedtrykkskraft, eventuelt løft.

  • Hylletetningen går fra straks luken beveges fra stengt posisjon. Er det en høytrykksluke kan dette være lite ønskelig og skape problemer. Sprut og kavitasjon blir stikkord.

Figur 8: Montering av notetetning.

Ofte stilles det krav om at tetningslisten etter montasje skal ha forspenning som antydet i Figur 8. Dette må ikke forveksles med festeboltenes forspenning. Vanlig verdi for tetningsforspenningen er 3-5 mm. Summen av dimensjonstoleranser for tetningsprofil og lukekonstruksjon blir imidlertid langt større enn de 2 mm variasjon som her er antydet for tetningsforspenningen. Av denne grunn kommer de tidligere nevnte underlagslister for tilpassing til anvendelse.

Figur 9: Vanntrykkbelastet omegatetning.

En notetetning som vist i Figur 8, vil imidlertid blir tett uten den angitte forspenningen. Dette sørger vanntrykket og noteprofilets deformerbarhet for. Mer viktig er det derfor at forspenningskravet tilfredsstilles når tetningselementet er omegalist. Innfrielsen bør verifiseres ifm. montasjeoppfølging. For dette oppmåles luken med påmonterte tetningslister før den settes ned i føringene. Resultatene sammenholdes med oppmålinger av føringene.

På den annen side kan en omegatetning også trykkbelastes slik at den presses mot tetningsanlegget. Dette er vist i Figur 9. Ved slik løsning blir det viktig at de kanaler som fører vanntrykket inn bak omegatetningen, holdes åpne.

Hva forspenningen medfører av ekstra flatetrykk ved tetningslinjen, varierer fra profil til profil. Med Semperit som kilde, gis dataene i tabellen nedenfor. Innen området0 - alineær vil sammenhengen mellom kraft F pr. meter tetningsprofil og deformasjon å være gitt ved: F = konst•a

Tabellens lineære dimensjoner er angitt i mm. Konstanten, konst, har benevning Newto pr. meter og mm. Semperit oppgir ikke gummihardhet, men det antas at denne kan være i området 60 - 65 Shore A.

Figur 10: Tetninger - typer og tabell